兽药残留检测仪厂家

瘦肉精检测仪试纸怎么看?

  发布日期:2026-03-16  文章关键词:瘦肉精检测仪

如果您正在寻找相关产品或有其他任何问题,可随时拨打公司服务热线,或点击下方按钮与我们在线交流!

服务热线:13371098225 咨询客服
瘦肉精检测仪试纸怎么看?
 
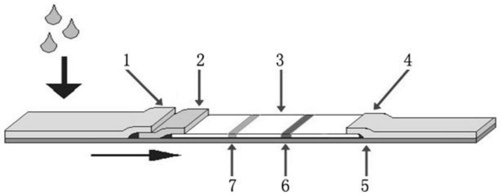
阳性(+):仅质控区(C)出现一条紫红色条带。在测试区(T)内无紫红色条带出现。阳性结果表明:尿液中的盐酸克伦特罗浓度在阈值(3ng/ml)以上。
阴性(-):两条紫红色条带出现。一条位于测试区(T)内,另一条位于质控区(C)内。阴性结果表明:尿液中的盐酸克伦特罗浓度在阈值(3ng/ml)以下。
无效:质控区(C)未出现紫红色条带,提示测试失败或试纸已失效。
注意:测试区(T)内的紫红色条带可显现出颜色深浅的现象。但是,在规定的观察时间内,不论该色带颜色深浅,即使只有非常弱的色带也应判定为阴性结果。
 
想要了解更多瘦肉精检测仪 请点击 www.spkjyq.com  15854444001
瘦肉精检测仪
本文所提仪器有:

联系我们

  13371098225   13371098225   413230237@qq.com   山东省潍坊高新区
新城街道玉清社区光电产业加速器 (一期)1号楼

扫一扫

  技术支持 二维码
山东云唐智能科技有限公司 Copyright © 2002-20231 山东云唐智能科技有限公司 版权所有 备案号:鲁ICP备18026474号-13 站长统计-当前在线[5]
微信咨询 微信咨询

微信咨询

微信咨询
回到顶部 回到顶部

回到顶部